Si esta es tu primera visita asegúrate de revisar las FAQ en el enlace anterior. En necesario registrase
antes de poder publicar. Para empezar a ver mensajes, selecciona el foro que quieres visitar de la lista inferior.
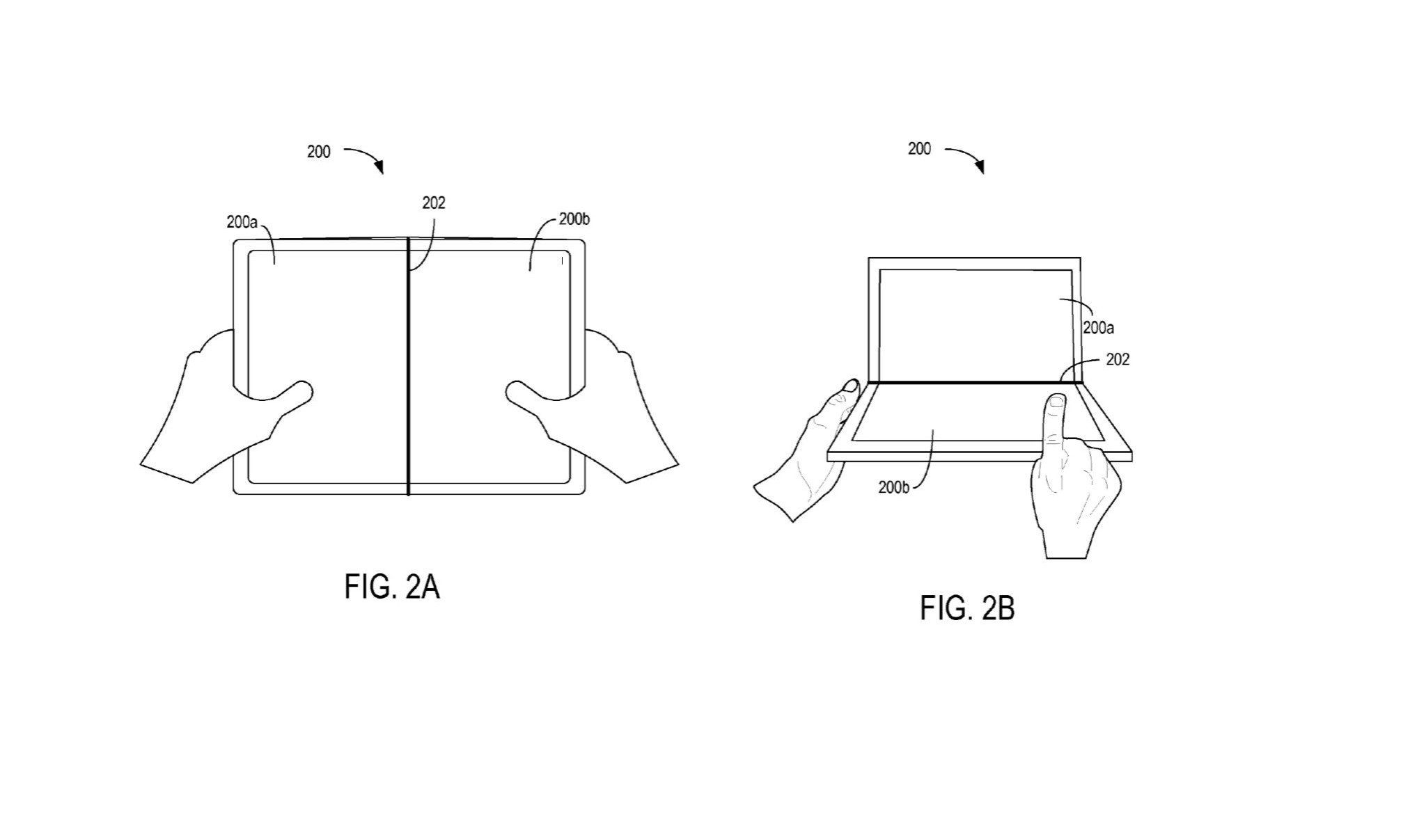
Surface Phone, is that you? Another foldable mobile device patent emerges